Principle of operation and features of LED bulbs
Due to the device of the 220 volt LED bulb, it consumes significantly less energy than an incandescent bulb and lasts several times longer. You can get a warranty on the LED light bulb when you buy it, so do not be in a hurry to throw away the receipt and packaging.
The LED bulb is designed so that the output voltage is reduced to the required values with the help of a driver. Usually they do not exceed 2-4 volts. The only disadvantage of these devices is the price. But the cost of the lamp is recouped through the service life.
The principle of operation of LED lamps
Despite the different appearance of LED lamps, the principle of operation they have in common. Current is fed through the diodes, the number of which varies depending on the capacity of the illuminator. The color spectrum is given by a special composition, which is covered by each crystal.
LED light bulb is a semiconductor element that converts the supply current into light. A special bulb (protective scattering glass) is made for the necessary dispersion and protection of diodes. Externally, the product resembles an ordinary incandescent lamp.
What LEDs are used
One of the main elements that make up the LED lamp is a diode. It is called a semiconductor crystal, consisting of several layers. It is he who serves to convert the electricity supplied to the lamp into light. Diode produced on the basis of a chip - a crystal with a pad to which the conductors are connected.
Recommended video: Explanation of LED lamps, disassembly LED-lamp, the principle of operation.
To get a white glow, the chip must be coated with yellow phosphor. When blue and yellow are mixed, white is formed. There are 4 types of LEDs:
- COB .. In this manufacturing process, the chip is mounted in a board. The contact is reliably protected from oxidation and excessive heat. It also has a positive effect on the characteristics of luminescence. If such a chip fails, it is impossible to repair the circuit. This is the only disadvantage of the technology;
- DIP. The circuit consists of a crystal, two connected conductors, the lens is located on top. Such lights are mostly used as illumination on advertising boards and light decorations;
- Diode SMD .. Installed on flat surfaces, which allows the manufacture of devices of different shapes. It has improved heat dissipation characteristics. These lamps can be used for any light source;
- "Piranha. The design is similar to DIP circuit. But it has 4 pins which ensures better heat dissipation and makes the technology more reliable. Piranha is widely used in the automotive industry.

How these lamps are made
As part of a classic LED bulb, there are:
- base and supporting body;
- power supply unit;
- diffusing lens made of plastic;
- driver;
- chips;
- heat sink for heat dissipation;
- printed circuit board.
The shape can be standard, i.e. rounded or cylindrical. For general use system, it is recommended to choose lamps whose color temperature is at 2700 K, 3500 K. In the gradation of the spectrum, any values are acceptable. Such products are often used to emphasize interior elements or advertising agencies to illuminate a banner.
Diagram of an LED driver
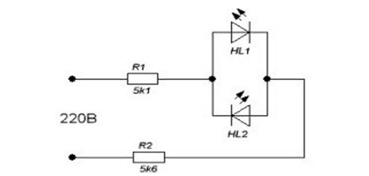
The figure below shows a simplified diagram of the driver, which is used in 220V lamps.
The schematic involves the use of only basic parts. There are 2 resistors, R1 and R2. To these diodes HL1 and HL2 are connected in counter-parallel. Such a device provides the circuit protection against reverse voltage overshoot. When turned on, the signal going to the lamp increases to 100 Hz. The voltage of 220 V is fed through C1 (limiting capacitor). From there it goes to the rectifier bridge and the chips.
Assemblies
There are 2 main varieties of 220 volt LED lamp assemblies:
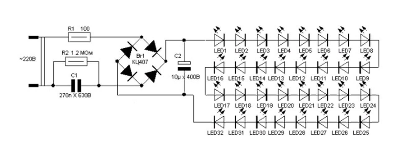
- With a diode bridge. The circuit includes 4 diodes. The bridge transforms the incoming current into a pulsating current. Passing through the chips, the sinusoidal waves change, which provokes a loss of polarity. In the assembly process, a capacitor must be connected in front of the bridge to the output. In front of the terminal (minus) is a 100 ohm resistance. In order to smooth out possible drops, another capacitor is mounted behind the bridge;
- with a resistor resistance. The assembly is available even for inexperienced masters. To work, you should prepare 2 resistors, as well as a chain with the same number of chips installed in series, taking into account the polarity. On the side of the first resistor, the strip is connected with the cathode, the second - with the anode. The luminaire will have a soft light due to the alternate switching of the chips. Such devices are often used as table lamps.
It will also be useful video: Kit for assembling a LED lamp. Assemble it yourself.
Scheme of assembly design
How the LED lamp will work directly depends on the manufacturer and the price of the product. Differences can be noticed if you remove the diffuser. The first thing to pay attention to is the quality of soldering chips, as well as connecting wires. Cheap bulbs last less than high-quality and expensive ones.
Low-quality Chinese bulbs
Buying a bulb for no more than $3, you should not expect a symmetrical arrangement of LEDs on the board. This suggests that the soldering was done manually and hastily, and the wires were chosen with minimal cross section. There will also be no reliable driver. Instead of a transformerless circuit with a rectifier and a capacitor.
When you turn on a cheap Chinese lamp, the voltage will first be reduced by a metal-film capacitor (non-polar), rectified, and then increased to the right values. The current will be limited by a standard SMD resistor. This is mounted on the printed circuit board along with the chips.
If you have to diagnose and then repair lamps of this type, it is necessary to adhere to a special safety technique. Each element, which is a component of the same circuit, can be under voltage dangerous to humans. If you accidentally touch one of the live parts, you can get an electric shock. The same can happen if the stylus of a multimeter accidentally slips and causes a short circuit.
Branded LED bulbs
Expensive and quality bulbs have a nice appearance, but these are not all the benefits. The quality of the element base will be much higher than that of the Chinese analogue purchased at a low price. The installed driver is characterized by a complex device. One of the ways of its assembly involves the installation of a pulse transformer, as well as a current converter, which further stabilizes the resulting load.
A transformer may not be installed. The main load will be directed to the chip that stabilizes the input voltage, which:
- has a negative feedback system;
- possibility of dimming;
- maintains the current with a given pulse width.
Choosing a quality LED light bulb for 220 V with a current driver, the buyer receives a device protected from interference and surges in the network, which corresponds to the characteristics specified in the passport. The heat sink installed here will ensure fast heat dissipation. This bulb will last more than 5 times longer than a cheap Chinese one.
Tips for choosing and connecting
Choosing LED light bulb you should consider not only the power, but also the luminous flux produced. The characteristics can be found on the packaging. For example, a 60W lamp emits a flux of 800 Lm, and 100W - 1600 Lm. It is also recommended to consider the following:
- The color of the light. Before buying, decide what kind of lamp you need, with a warm or cool shade. The incandescent bulb has characteristics of 2700-2800 K (warm tones). Luminescence with a reading of 4000 K has a white color. For the home, it is recommended to choose warm tones, as they will emphasize the home comfort;
- Frequency of switching on and off. Frequent switching on can affect the life of the bulb. It can burn out due to poor quality electronic circuitry. LED lamp should not be installed in rooms in which the light will be frequently turned on and off. For example, if you need a light bulb for the bathroom, it is worth buying an expensive model, as a cheap analogue will burn out quickly enough;
- compatibility with a dimmer. A dimmer is a light intensity regulator. Not all lamps are compatible with this device.
Before buying a light bulb, it should be carefully inspected and checked for visible defects. Pay attention to the heat sink, it should not be set. This determines the service life of the product. If it will be covered with thermoplastic, it is the best option. The lamp should not flicker when turned on. If the eye does not notice it, you should look at it through the phone camera. You should not buy a flickering bulb.







