When you can use fog lights under the DMV
Vehicle lighting equipment (HFI) is an important part of ensuring safety when driving on public roads. The range of traffic lights to be installed on a particular vehicle is regulated by international standards and defined by the developers within the framework of the regulations. It is the responsibility of the driver of the vehicle to ensure that the lights are in good working order and properly used.
Rules of the road for the use of lighting equipment
Use of automotive lighting equipment is regulated not only by traffic rules, but also by the "General provisions for the approval of vehicles", as well as GOST 33997-2016, which replaced the repealed GOST R 51709-2001. The new standard, unlike the old one, only regulates the installation of additional lighting devices, leaving the presence of the main at the discretion of the developers. Also the general information on the safety of the TC are regulated in the Technical Regulations TR TC 018/2011.
Dimensions
According to Section 19 of the Road Traffic Regulations, the driver must switch on position lightswhen stopped or parked in low visibility conditions. When driving, the lights must be on only on trailers.
By design the clearance lamps at the rear and at the front of a wheeled vehicle (WHV) must be switched on from a single control, which must also switch the voltage for the lights of the rear registration plate. In practice, the dipped beam headlights are also switched on with the same switch. This moment is not regulated by the rules, but there is a paragraph in the State Standard, which prescribes the obligation of such alignment. The standard also prescribes the inclusion of parking lights when lighting the dashboard of the car, but this requirement is not strictly spelled out.

Without the parking lights activated, the low beam or high beam lights can only be switched on to provide short-term signals by flashing or a quick switch between low beam and high beam.
The rear lights shall not be red and the front lights shall not be white. This applies to all light-emitting devices of the vehicle, both basic and optional. The latter category includes:
- spotlights;
- searchlights;
- Emergency brake lights.
Also GOST includes in this concept and other lighting equipment.
Dipped beam
Traffic regulations provide for the activation of dipped beam when driving:
- at night (after sunset);
- In difficult weather conditions (snow, fog, etc.);
- in tunnels.
During daytime the passing beam headlamps may be used as DRLs (daytime running lights).

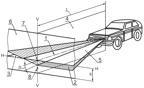
Dipped beam headlights are adjusted according to Section 4.3 of GOST 33997-2016, then the light intensity is measured. It must not exceed 750 candela at an angle of 34' up from the optical axis (marked α in the figure) and 1500 candela at an angle of 52' down from the axis.
High beam
The traffic code requires the high beam to be on in the same conditions as the low beam, except in the following situations:
- when driving within a built-up area on an illuminated road;
- When passing oncoming traffic or in other situations when it is possible to dazzle other drivers (for example, the driver of the traffic moving ahead in the opposite direction, through the rear-view mirrors).
In all of these situations, the high beam must be switched to dipped beam mode.

Also the regulations do not allow the use of high beam lights as daytime running lights (DRLs).
The high beam headlights can be switched on simultaneously or individually. Both headlights must only be switched to low beam at the same time.
The intensity of the high beam headlights is measured after adjustment of the dipped beam and must not exceed 30000 candelas on the axis of the headlights so as not to dazzle the drivers of oncoming traffic lights at a distance exceeding the recommended 150 meters by the Driving Regulations.
When Fog Lights Can Be Used
Use of these lights of external illumination is clearly regulated by the clause of traffic rules "fog lights" (clause 19.4). The driver must turn them on when driving:
- in difficult weather conditions or after sunset in combination with headlights on in dipped or high beam mode;
- as daytime running lamps in place of the dipped-beam system.
Fog lamps mounted on the rear of the vehicle may be switched on only when visibility is limited.

Rear fog lights may not be used in combination with stop lights. They are designed to be brighter than the front ones. When braking, this may cause dazzling of the driver who is driving behind in the direction of travel.
If the vehicle is equipped with a rear fog light, it could cause dazzle. If there is no manual, adjust the fog lights according to the car manufacturer's instructions. If there is no instruction, GOST 33997-2016 norms are used for adjustment. The color of the light should be white or orange.
What light you should drive in the daytime according to traffic regulations
In this regard, the Rules do not allow for variation. You need to drive during the day with your headlights on in the dipped beam mode or Daytime Running Lamps (DRL). White fog lights or separate lights may also be used as DRLs.

| Lighting equipment | Use as DRLs |
|---|---|
| Main beam headlamps | Prohibited |
| Dipped-beam headlamps | Allowed |
| White front fog lights | Allowed |
| Front fog lights with orange color glow | Prohibited |
| Rear fog lights | Prohibited |
| Turn signals | Prohibited |
| Lights | Prohibited |
| Lamp for illuminating license plate (rear) | Prohibited |
| Separate lamps, prescribed by the construction of the car or additionally installed and registered in the traffic police, as alteration of the construction | Allowed |
It is necessary to switch on DRL irrespective of territory of movement - in populated area or out of town.
Which headlamps should be used depending on the situation
Other regular lighting devices the driver switches on independently depending on the actual conditions. Their use in different situations is also regulated by the Driving Regulations.
In low visibility
In low visibility conditions, the Regulations require the driver to activate
- on wheeled vehicles - headlights in dipped or high beam mode;
- on bicycles - headlights or lights.
Lights may be lit on horse-drawn carts, but the requirement for their installation is not stipulated by the Road Regulations.
In good visibility
In good visibility and simple weather conditions during the daytime application of lighting equipment is limited to the use of headlights in dipped beam mode or DRL.
Driving through a tunnel
Driving through a tunnel is equivalent to driving after sunset or when visibility is limited. The driver is therefore obliged to turn on his headlights or lights, depending on the type of vehicle. On trailers in a tunnel the parking lights must be activated.

Driving in the dark
The use of lighting equipment after sunset is governed by the same paragraph 19.4 of the Road Traffic Regulations. The driver must turn on the headlights in high beam or dipped beam mode, and in their absence - the lights. Paragraph 19.4 allows the use of fog lights at night in conjunction with conventional headlights, even in conditions of limited visibility.
Optional devices such as spotlights and searchlights may only be used outside built-up areas when there are no other vehicles on the road. Otherwise, the risk of dazzle is extremely high, since they emit light in the form of a narrow cone. Exceptions are special service vehicles and in special cases. Unauthorized installation of such equipment is also prohibited.

And most importantly - in accordance with the mentioned GOST lighting equipment must be in good working order, and the basic provisions prohibit driving with non-working light-emitting devices, and even with unregulated headlights. The driver must monitor the condition of the devices, thereby increasing the safety of traffic - his own and other car owners.
